您现在的位置:
  • 综合信息
  • 详情

【专利观察】 智能船舶技术跟踪

发布日期:2025-09-26

基于对国内外智能船舶技术领域相关企业的专利态势跟踪和专利分析评估,本月值得关注的相关专利如下:

名称:智能船舶最优航线获取方法海知汇

公开(公告)号:KR102849263B1

专利权人:韩华海洋

技术问题:现有的自主船舶在选择船舶路线时缺乏对安全性和经济性的考虑,并且由于多个船舶间相互通信而容易受到网络攻击。

技术方案:该技术方案提供了一种智能船舶最优航线获取方法,通过采集船上设备的数据并将采集到的数据传输到陆地综合情况室,从而根据实时传输的信息检查船舶的状态,并根据包括气象信息在内的航行信息和导航信息衍生计算出多个推荐路线,最终选择一条平衡安全性和经济的最佳路线。

技术功效:该技术方案通过提供实时数据分析以最佳的路线选择,最大程度地降低风险并准确预测燃油消耗,同时通过加密的数据传输和网络冗余确保网络安全,从而增强船舶运营安全和经济。

名称:一种船舶风险等级计算方法及装置海知汇

公开(公告)号:KR1020250129287A

专利权人:HD韩国造船海洋公司

技术问题:现有技术缺乏有效的方法来计算和管理船舶的实时风险水平,尤其是在自主导航中,如何动态调整船舶路线以避免碰撞和不利天气条件是急需解决的问题。

技术方案:技术方案提供了基于导航和天气信息的安全区域和回避区域的方法和设备,通过检测这些区域内的对象,并使用人工智能模型来调整船舶控制和显示实时信息,从而计算风险水平以得出最佳路线。

技术功效:该系统允许用户远程识别天气信息并应对实时航行情况,生成一条避免碰撞的路线,从而提高了船舶控制的可靠性和稳定性。

名称:基于定向捕获的环境声音的船舶监控海知汇

公开(公告)号:CA3053742A1

专利权人:康斯伯格海事芬兰公司

技术问题:自主船舶缺乏有效的手段来使远程操作员获得具备可见性条件的航行环境,因为它们无法准确识别移动的物体或重现环境声音,这会阻碍船舶自主生成避碰决策。

技术方案:技术方案提供了一种船舶内配备的用于监控船舶的远程操作中心,包括一系列定向麦克风和扬声器,一个处理单元。该处理单元可以分析声音信号以确定其方向和来源,并通过视觉指示系统从声音来源方向复制环境声音和无线电通信,以增强操作员的意识。

技术功效:所述系统可以通过重新创建声音环境并确定动态障碍,改善无人海洋船只操作中的决策和避免碰撞能力,从而大大提高远程操作员的情境意识。



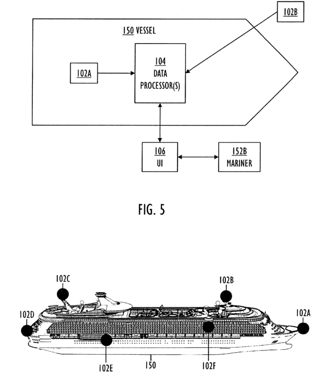
名称:实时监控船舶周围环境海知汇

公开(公告)号:EP3710858B1

专利权人:ABB公司

技术问题:自主船舶的雷达系统缺乏足够的分辨率来精确检测短距离物体,单一技术不足以提供在拥挤区域安全航行的态势感知。

技术方案:提供一种实时监控系统,集成了多种传感器(雷达、激光雷达、声纳、数字成像)和数据处理器,可以创建用户可选择的实时船舶周围环境三维虚拟模型,通过分层传感器数据和用户界面功能增强态势感知。

技术功效:通过提供船舶周围环境的直观、多视角视图,提高航行安全性,从而实现更好的决策和避免碰撞。