您现在的位置:
  • 综合信息
  • 详情

专利观察 | 极地深海技术跟踪

发布日期:2026-02-05 来源:中船集团知识产权与成果管理微信公众号

基于对国内外极地深海技术领域相关企业的专利态势跟踪和专利分析评估,本月值得关注的相关专利如下:

名称:破冰船海知汇

公开(公告)号:KR102920110B1

专利权人:三星重工业株式会社

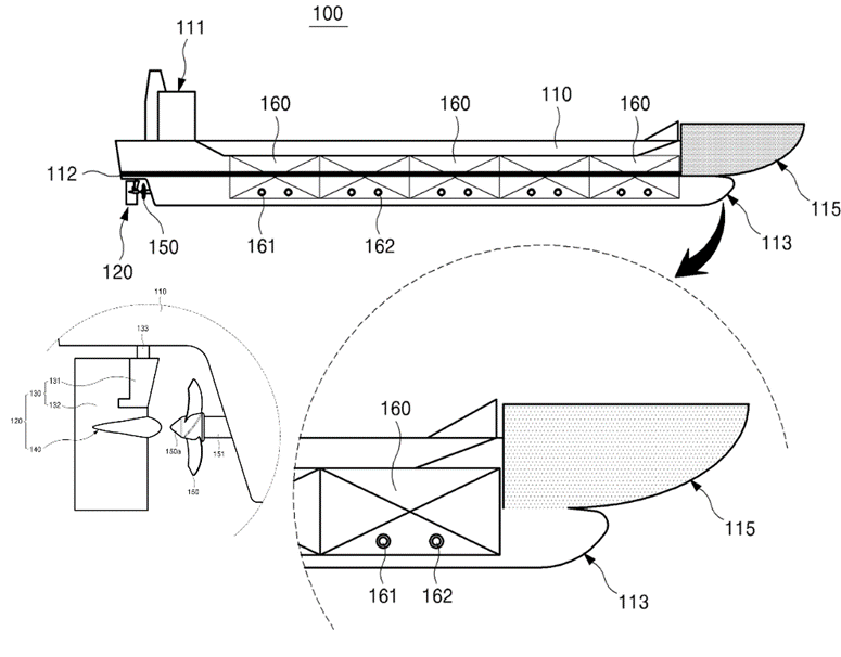
技术问题:传统破冰船(如楔形或勺形船首)在冰区航行时具有良好的破冰性能,但在无冰的一般海域航行时,船首形状会导致水流阻力较大,降低燃油效率,增加运营成本。现有技术难以兼顾冰区破冰性能与无冰区航行效率。

技术方案:该技术方案提出一种混合型破冰船,其船体内部设有多个可独立控制的压载水舱,并在水线以下的前部区域设置阻力减少型船首以在无冰海域降低航行阻力,同时在水线以上的前部区域设置位于阻力减少型船首上方的勺形船首用于破碎冰区的平坦冰层;通过独立的压载水供应与排放单元,并利用控制器根据输入的航行条件,自动控制各压载水舱的水量分布,从而调整船体俯仰姿态,实现在冰区航行时使勺形船首下倾以接触并压碎冰层,在无冰海域则恢复常规航行姿态。

技术功效:该方案使船舶在冰区航行时能通过勺形船首有效破碎平坦冰层,获得比传统楔形破冰船更优的破冰性能,同时在无冰海域凭借阻力减少型船首保持与普通船舶相近的低阻力性能与燃油效率,从而兼顾不同海域的航行需求,提升船舶的适应性与整体运营经济性。

名称:具有节能特性的极地运输船螺旋桨前向除冰装置及消除不良干扰的方法海知汇

公开(公告)号:KR1020260011139A

专利权人:江苏科技大学

技术问题:极地运输船在南北极航道航行时,浮碎冰与螺旋桨碰撞导致螺旋桨损坏,且现有节能装置振动性能差,影响推进性能。

技术方案:该技术方案提供一种兼顾节能的极地运输船桨前清冰装置及消除不良扰动的方法。该装置主要包括清冰机构和减振机构:清冰机构通过水泵将船舶压载水舱的水输送至一个带有多个后向清冰喷口的导管,喷射水流以驱离桨前浮冰;减振机构则通过导叶将该导管连接至船舶艉轴套,其内部设有由液压单元连接的上、下两个减振单元。上部减振单元(包含上连杆和上减振弹簧组)用于吸收来自清冰机构高压水流的振动,下部减振单元(包含下连杆、减振质量体和下减振弹簧)用于吸收螺旋桨高速旋转引起的振动。通过两减振单元的配合,特别是利用其可能产生的相反方向运动来互相抵消振动,从而快速消除对螺旋桨附近流场的不良扰动。该装置在无冰工况下可充当节能导管改善桨前流场,在有冰工况下启动清冰功能。

技术效果:该方案在无冰工况下节能,在有冰工况下清冰,能提高螺旋桨的推进效率和安全性,减少振动对流场的不良扰动,且适用于已有船舶快速改装。

名称:海底采矿系统和方法海知汇

公开(公告)号:US20260022636A1

专利权人:Mithril Minerals Inc.

技术问题:传统的海底矿物开采(如使用自推进式海底挖掘设备)会搅动大量沉积物并改变海水盐度,严重破坏海洋环境。同时,这类设备的采集效率、灵活性和自动化程度也有待提升。

技术方案:该技术方案提出了一种使用海洋船舶布放的海底采矿系统及方法。其核心在于:一根从船舶布放的系绳,其自由端装有第一锚,沿系绳在预定距离处装有第二锚,在第一锚与第二锚之间的系绳上耦接有至少一个收集单元。每个收集单元包括一个顶部装有旋转连杆的收集箱,旋转连杆上连接有臂基座,臂基座上铰接有至少一个机械臂,机械臂末端装有可移动的末端执行器(可包含圆柱刷、斜面和传送带系统)。系统具有采集状态和回收状态:在采集状态,收集单元部署于海底,各机械臂伸出并旋转,使每个末端执行器在海底沿离散的螺旋轨迹运动,以协同收集海底结核;在回收状态,机械臂从海底缩回并沿垂直于收集箱的轴线线性对齐,最后通过系绳管理系统将整列收集单元及其采集的结核回收至船舶。

技术效果:该系统避免了对海底的大规模搅动,显著降低了对海洋环境的破坏。机械臂遵循的螺旋轨迹能高效、协同地覆盖采集区域,提升矿物采集效率。集成传感器模块和控制单元可实现基于环境检测的自动化采集与基于仓储量检测的自动回收,提升了系统的智能化水平和作业连续性。整个系统可从船舶方便地布放与回收,便于运输和作业循环。